Befestigungselemente
Ausführung in Stahl, feuerverzinkt. Ausführung in Edelstahl auf Anfrage. Passend zur Unterkonstruktion.
Standard-Befestigung |
|
| Für Press- und Schweißpressroste geeignet. | ![]() |
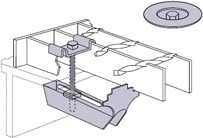
Sicherheits-Befestigung |
|
| Nur für Schweißpressroste geeignet. | ![]() |
Doppelklemmen-Befestigung |
|
| Für Gitterroste, die zur größeren Durchbiegung neigen, geeignet. | ![]() |
Setzbolzen-Befestigung |
|
| Für Press- und Schweißpressroste geeignet. | ![]() |
Haken-Befestigung |
|
| Ermöglilcht eine Gitterrostfixierung auch an vertikalen Auflagerprofilen. | ![]() |




